UK Sales: 0191 418 1122         International: +44 191 418 1133

Menu

www.canford.co.uk

23 December 2025

LUNDAHL HYBRID TRANSFORMERS

LUNDAHL LL6702 TRANSFORMER Analogue audio, for use in pairs to make hybrid transformer
LUNDAHL LL6702 TRANSFORMER Analogue audio, for use in pairs to make hybrid transformerLUNDAHL LL6702 TRANSFORMER Analogue audio, for use in pairs to make hybrid transformerLUNDAHL LL6702 TRANSFORMER Analogue audio, for use in pairs to make hybrid transformerLUNDAHL LL6702 TRANSFORMER Analogue audio, for use in pairs to make hybrid transformer

LL6702

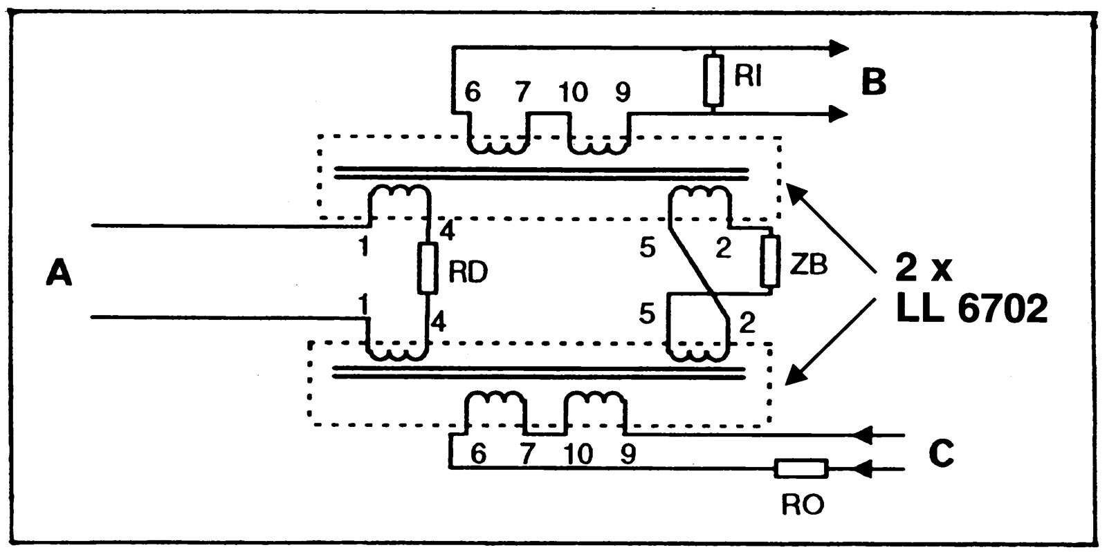
LL6702 is a hybrid transformer for line applications. It is constructed using a C-core and meets requirements for high isolation between windings. The LL6702 has an extremely low leakage inductance and thus a flat frequency response curve. This makes it easy to design the balancing network for a good transhybrid loss in the entire frequency range. Two LL6702 transformers are required to build a complete hybrid.

Technical Specification:

Turns ratio: 1.5, 1.5: 1+1
Dimensions: 47(l) ×31(w) ×15(h)
Spacing between pins: 5.08mm (0.2″)
Spacing between rows of pins: 30.48mm (1.2″)
Weight: 70g
Static resistance of primary (pins 1-4): 50ohm
Static resistance of balance (pins 2-5): 45ohm
Static resistance of each secondary (pins 6-7, 9-10): 36ohm
Max DC current: 60mA
Transhybrid loss (laboratory conditions): 50dB, 10Hz-10kHz
Isolation between windings: 2kV/4kV
Typical application: Telephone hybrid using two LL6702
Balancing network ZB: Select ZB for minimum crosstalk which occurs when ZB equals actual line impedance. In applications this is often accomplished with a combination of a potentiometer and a series of capacitors.
Line termination: If RI =RO, the termination impedance, ZT, as seen from the two-wire side is:
ZT (AC) =17ohm+RI +RD. Thus ZT is independent of ZB.
ZT (DC) =100ohm+RD. RD is an optional resistor used to reduce the line DC current.
Description Price £
Add to basket
LUNDAHL LL6702 TRANSFORMER Analogue audio, for use in pairs to make hybrid transformer Stock code: 23-141
Ordered on demand, available in 3‑4 weeks. Need it sooner? Call us
1+ £60.64
10+ £58.82
50+ £57.61
100+ £56.40